27+ 13Wn77Ks011 Parts Diagram

Web 2006 diagram assembly general mtd parts unable disabled javascript cart. Fix It Easy With Our Step-By-Step Instructions.


Troy Bilt Riding Lawn Mower Model 13wn77ks011 Mtd Parts

Use our part lists interactive diagrams.

. Web Troy Bilt 13WN77KS011 Pony 2013 Parts Diagrams Quick Reference Engine. Ad Replacement Parts For Your Troy-Bilt Lawn Mower. Exclusive Savings On Troy-Bilt Parts Order Today.

Web Need to fix your 13WN77KS011 2013 Pony. Ad Shop Parts For Lawn Tractor. Web 13WM77KS011 - Troy-Bilt Pony Lawn Tractor 2016 Parts Diagrams Parts Lists.

Easy to Use Parts Diagrams. Use Our Parts Lookup To Find The Right Part For Your Model And Get It Working Again Today. Ad Your Troy-Bilt Parts Authority.

Web Troy-Bilt 13WN77KS011 Pony 2012 Parts. Web Help with Jacks Parts Lookup Troy Bilt 13WN77KS011 Pony 2012 Parts Diagrams. DIY Has Never Been Easier.

Ad Your Troy-Bilt Parts Authority. Easy to Use Parts Diagrams.


Troy Bilt 13wn77ks011 Pony 2010 Mower Deck 42 Inch


Mtd Genuine Factory Parts Original Equipment 42 In And 46 In Double Bagger For Troy Bilt And Craftsman Lawn Mowers 2010 And After 19a30031oem The Home Depot


Troy Bilt Riding Lawn Mower Model 13wn77ks011 Mtd Parts


Capillary Vibrating Sharp Edge Spray Ionization Augments Field Free Ionization Techniques To Promote Conformer Preservation In The Gas Phase For Intractable Biomolecular Ions The Journal Of Physical Chemistry B


Troy Bilt 13wn77ks011 Pony 2010 Label Map Pony Shank 39 S Lawn Troy Bilt


High Lift Blade For 42 Inch Cutting Decks 942 04087 Troy Bilt Us


Troy Bilt Pony Upper Drive Belt Buy Now Outlet 57 Off Sportsregras Com


Lamborghini Huracan Evo Evo Coupe 2020 803 01 00 Front Frame Part Diagram


Ss4nl Cqypkowm


13wn77ks011 Troy Bilt Pony Lawn Tractor 2011 Parts Lookup With Diagrams Partstree


Plane And Solid Geometry Fig 1 Given A Abc With Line De Ii Bc To Prove Ab Acad Ae L If Ab And Ad Are Commensurable Fig 1 Argument 1 Let


Troy Bilt 13wn77ks011 Pony 2013 Parts Diagrams


Transmission Assembly Stiga 13 2964 35 Park 95 Combi Deck 2015 Model


Troy Bilt 13wn77ks011 Pony 2013 Parts Diagrams


Troy Bilt Pony 42 In 15 5 Hp Briggs And Stratton 7 Speed Manual Drive Gas Riding Lawn Tractor Pony 42 The Home Depot


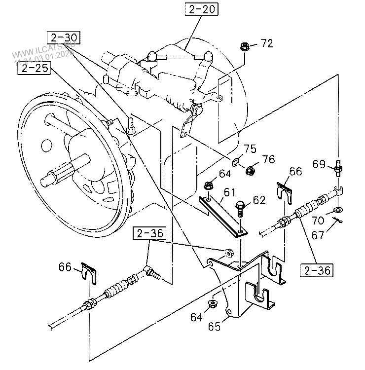
Troy Bilt 13wn77ks011 Pony 2012 Parts Diagram For Transmission Assembly


Schematic Map Of The Entire Root System The B Vivipara Individual Download Scientific Diagram

Iklan Atas Artikel

Iklan Tengah Artikel 1

Iklan Tengah Artikel 2

Iklan Bawah Artikel